更新时间:2025-09-04 gmt 08:00

费用账单-j9九游会登录

您可以在“费用 > 账单管理”查看数据库实例的费用账单,以了解该资源在某个时间段的使用量和计费信息。

账单上报周期

包年/包月计费模式的rds实例完成支付后,会实时上报条账单到计费系统进行结算。

按需计费模式的实例按照固定周期上报使用量到计费系统进行结算。按需计费模式产品根据使用量类型的不同,分为按小时、按天、按月三种周期进行结算,具体扣费规则可以参考按需产品周期结算说明。rds实例的按需计费模式按小时进行结算。

按需计费资源的扣费时间可能会滞后于结算周期,例如:按小时结算的rds实例在8:30删除资源,但是8:00~9:00期间产生的费用,通常会在10:00左右才进行扣费。在“费用中心 > 账单管理 > 流水和明细账单 > 流水账单”中,“消费时间”即按需产品的实际使用时间。

通过界面查看指定资源的账单

  1. 单击管理控制台左上角的,选择区域和项目。
  2. 在页面左上角单击,选择数据库 > 云数据库 rds
  3. “实例管理”页面,复制实例名称。
  4. 在控制台顶部菜单栏中选择“费用 > 费用账单”,进入费用账单页面。
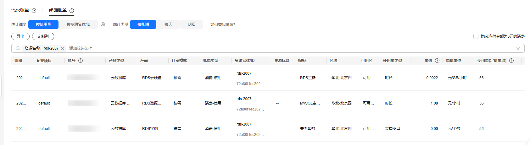
  5. 选择“流水和明细账单 > 明细账单”,在筛选条件中选择“资源名称”,并输入实例名称,单击图标即可搜索该资源的账单。
    图1 查询资源账单

    图中设置的统计维度为“按使用量”,统计周期为“按账期”,您也可以设置其他统计维度和周期,详细介绍请参见流水与明细账单

通过api查看指定资源的账单

华为云支持调用api接口查询云资源的账单信息,详见。

建议通过“cycle”和“cloud_service_type”请求查询rds资源的账单,并在响应结果中通过“root_resource_id”(即实例id)筛选指定实例的账单信息。

场景示例:核对资源用量是否与实际相符

假设用户在2023/07/20 16:03:02购买了一个按需计费云数据库rds实例,并在2023/07/20 18:53:52时刻将其删除。

  • 云数据库rds实例流水账单

    按需计费rds实例按秒计费,每一个小时整点结算一次费用,您可以在流水账单中核对每一个计费周期的信息是否和实际相符,流水账单中计费资源是分开计费的,以“rds云硬盘”为例,具体如表1所示。

    表1 云数据库rds流水账单

    产品类型

    云数据库rds

    产品

    rds云硬盘

    计费模式

    按需

    消费时间

    2023/07/20 16:03:02 ~ 2023/07/20 18:53:52时段计费系统将生成3笔流水账单,对应每一个计费周期,分别如下:

    • 2023/07/20 16:03:02 ~ 2023/07/20 17:00:00
    • 2023/07/20 17:00:00 ~ 2023/07/20 18:00:00
    • 2023/07/20 18:00:00 ~ 2023/07/20 18:53:52

    j9九游会登录官网价

    j9九游会登录官网价 = 使用量 x 单价 x 容量

    本例中,在第一个计费周期内rds的使用量为3,418秒,单价可在中查询,以0.0022 元/gb/小时为例,容量为40gb,那么j9九游会登录官网价=(3,418 ÷ 3,600) x 0.0022 x 40 = 0.08355111 元。同理,您可以计算剩余计费周期内资源的j9九游会登录官网价。

    优惠金额

    用户使用云服务享受折扣优惠如商务折扣、伙伴授予折扣以及促销优惠等减免的金额。基于j9九游会登录官网价的优惠金额。

    抹零金额

    华为云产品定价精度为小数点后8位(单位:元),因此在计费过程中会产生小数点后8位的资源使用费用。而在实际扣费时,仅扣除到小数点后2位,小数点后第3位到第8位部分金额会被舍弃,这种舍弃部分的金额称作抹零金额。

    以第一个计费周期为例,抹零金额为:0.00355111 元

    应付金额

    应付金额=j9九游会登录官网价-优惠金额-抹零金额

    以第一个计费周期为例,假设优惠金额为0,那么应付金额 = 0.08355111 - 0 - 0.00355111 = 0.08 元

  • 云数据库rds实例明细账单

    明细账单可以通过多维度展示客户账单的详细信息。一般通过设置统计维度为“按使用量”,统计周期为“按账期”来统计资源在某个月份的总开销,以“rds云硬盘”为例,建议您核对表2所示的信息是否和实际相符。

    表2 云数据库rds明细账单

    产品类型

    云数据库rds

    产品

    rds云硬盘

    计费模式

    按需

    资源名称/id

    rds实例名称/实例id

    规格

    rds主备存储|ssd云盘|40gb

    使用量类型

    按需计费云数据库rds的使用量类型为“时长”

    单价

    按需计费模式为简单定价(使用量x单价)时提供单价信息,其他的定价(如eip公网带宽的阶梯定价)等不提供单价。

    按需计费rds属于简单定价,您可以在中查询单价。

    单价单位

    在中查询到的单价单位:元/gb/小时

    使用量

    按产品单价单位显示使用量,rds的单价单位为元/gb/小时,因此使用量以小时为单位。本例中,2023/07/20 16:03:02 ~ 2023/07/20 18:53:52时段总计使用量为2.8472222222小时。

    使用量单位

    小时

    j9九游会登录官网价

    j9九游会登录官网价 = 使用量 x 单价 x 容量

    本例中,使用量为2.8472222222小时,单价可在中查询,以0.0022 元/gb/小时为例,容量为40gb,那么j9九游会登录官网价 = 2.8472222222 x 0.0022 x 40 = 0.25055555 元

    优惠金额

    用户使用云服务享受折扣优惠如商务折扣、伙伴授予折扣以及促销优惠等减免的金额。基于j9九游会登录官网价的优惠金额。

    应付金额

    用户使用云服务享受折扣优惠后需要支付的费用金额。

相关文档

网站地图